Letecké bomby

Odpovědět
Alchymista
Redakční rada
Příspěvky: 54404
Registrován: 01 úno 2017, 08:58

Letecké bomby

Příspěvek od Alchymista » 07 úno 2017, 16:34

"Charakteristická doba pádu leteckej bomby" je základný "balistický koeficient" pre rôzne výpočty, je definovaná ako doba pádu leteckej bomby odhodenej z výšky 2000 metrov pri doprednej rýchlosti 40m/s (definícia platí už od čias "Iliji Muromca" :cool: ) a pre nebrzdené bomby bežne dosahuje 20,25 až 35 sekúnd.

Balistický koeficient bomby sa vypočíta zo vzorca:
Tchar = 20,193 + 0,809*k
k = (Tchar - 20,193)/0,809
kde
- Tchar je charakteristická doba pádu
- 20,193 je doba pádu z výšky 2000 metrov vo vákuu
- k je balistický koeficient bomby
Na ruskej bombe býva písaná bielou v tvare zlomku, často v rámiku, nad čiarou je Tchar z danej oblasti výšky, pod čiarou výška v km, bomby s brzdiacimi zariadeniami majú takých zlomkov rámikov aj niekoľko, pre rôzne úseky dráhy


--------------------------------------------------------------------
Čo znamená rôzne doplnkové označenie v označení riadených bômb KAB
- L - Лазерная полуактивная ГСН флюгерного типа - laserová hlavica samonavedenia "veterníkového" typu - takéto hlavičky mali ako detektor "kvadrantovú" fotodiodu (v podstate päť detektorov - centrálny a štyri segmenty)
- LG - Лазерная гиростабилизированная - laserová "gyrostabilizovaná" hlavica (buď samotná hlavica, alebo tam je pridaný stabilizačný autopilot)
Hlavička 24N1 by už mala byť typu LG, typ L by mali byť v Rusku pomerne málo používané hlavičky s detektorom "amerického typu" - také to malé teleso s prstencovým "stabilizátorom" na "sosáku", práve tomuto telesu rusi občas hovoria "fljuger", veterník - česky sa to prekladá ako (veterná) "korouhvička".
U novších rakeit a bômb sa už rozlíšenie L/LG používa málo a väčšina je typu LG, hoci je označená len L
- Kr - Телевизионно-корреляционная - televízna-korelačná - televízia funguje pri zamierení, potom hlavica si uchováva obraz cieľa a navádza sa naň - v podstate samonavedenie, princíp vystreľ a zabudni. Staršie hlavičky s televíznym korelačným systémom mohli mať aj systém s pamäťovou obrazovkou (elektronkou). A to sa len tak ľahko polovodičmi nenahradí...
- TK - Телевизионно-командная - televízna povelová, teda povelovo riadená až po dopad
- S - navedenie pomocou družicovej navigácie GLONASS/GPS
COVID-19 nie je choroba, COVID-19 je globálny test inteligencie jedincov, spoločenstiev, národov a štátov.
Dinosauri sa venovali výhradne problémom vlastného rastu.

Alchymista
Redakční rada
Příspěvky: 54404
Registrován: 01 úno 2017, 08:58

Re: Letecké bomby

Příspěvek od Alchymista » 07 úno 2017, 16:38

skflanker poslal:
OFAB-250-270
Obrázek
BetAB-500
Obrázek
RBK-500 AO-2.5RTM
Obrázek
RBK-500 SPBE-D
Obrázek
Výroba a montáž bômb typy RBK:

OFZAB-500
Obrázek
OFAB-500ShR (ОФАБ-500ШР)
Obrázek
Obrázek
Su-34 červená 02 (RF-95802) + 4x ZB-500ŠM:
Obrázek
http://russianplanes.net/ID186185
ZAB-250-200 + ZB-500ŠM:
Obrázek
RBK-500 ZAB-2.5
Obrázek
Obrázek
submunícia ZAB-2.5
Obrázek
Použitie v Sýrii zo 07.06.2016:

Ďalšie info:
http://www.russianarms.ru/forum/index.php?topic=4559.0
Prehľad ruských bômb:
http://ru.wikipedia.org/wiki/%D0%90%D0% ... 8%D1%8F%29
M4rt3l píše:Obrázek
COVID-19 nie je choroba, COVID-19 je globálny test inteligencie jedincov, spoločenstiev, národov a štátov.
Dinosauri sa venovali výhradne problémom vlastného rastu.

Alchymista
Redakční rada
Příspěvky: 54404
Registrován: 01 úno 2017, 08:58

Re: Letecké bomby

Příspěvek od Alchymista » 07 úno 2017, 17:42

zenith píše:Rozebírání ruské protipěchotní submunice AO-2,5RT (Hamá)
Veľmi poučné video.
trochu detailov - bombička má mierne odlišnú konštrukciu a iný zapalovač, ako bombička používaná v 80. rokoch v ČSLA (je tiež o cca 10 rokov novšia):
0:20-0:50 spôsob uloženia AO-2,5RT v prepážkach kontajneru. Podľa čísiel sú bombičky z roku 1989 - štvrť storočia staré, a zrejme nesprávne skladované, preto to množstvo zlyhaných (zavlhnuté oneskorovače a výmetné náplne)
0:52-1:39 - otváranie bombičky - v skutočnosti už je "otvorená", sníme jednu"bojovú časť", ktorá je pri normálnej činnosti odstrelená od zapalovaču v strede
1:42 - ukazuje oneskorovač, na konci ktorého je rozbuška
1:48 - vložený hliníkový diel je výmetná náplň, obsahuje čierny prach, úlohou je zapáliť oneskorovač a odhodiť túto "bojovú časť" od zapalovač
2:00 - ukazuje zapalovač v púzdre a jeho umiestnenie v bombičke
2:40 - zapalovač bez púzdra
2:49 - druhá "výmetná náplň" pre "spodnú" bojovú časť
2:59 - konštrukcia zapalovaču s úderkami v tvare Y a odstredivými poistkami
3:40 - takto by mali byť časti uložené pred odistením
3:55 - takto sa zapalovač odistí pri rotácii - odstredivá sila prekoná odpor odpružených guličiek v poistkách a tie sa presunú, čím umožnia vzájomný pohyb úderiek. V odistenej polohe sa poistky opäť zaistia proti pohybu odpruženými guličkami voči púzdru.
4:00 - ukazuje pohyb úderiek pri náraze na prekážku - úderky sa pohybujú zotrvačnosťou a pri bočnom náraze sú voči sebe riadené dvomi vodítkami okolo ihly a náliatkami v púzdre (náliatky púzdra sú vo vrchole úderiek tvaru Y)
4:17 - práve sňal "koleso" - prstenec s "veterníkom" - jeho úlohou je počas pádu roztočiť bombičku na otáčky dostatočné na odistenie odstredivých poistiek
4:30 - významný rozdiel proti staršej konštrukcii - vymontovaný diel, vonkajšie púzdro zapalovaču, je tu súčasťou druhej "bojovej časti", u staršej konštrukcie bol tento diel samostaný a bojové časti boli identické
4:35 - ukazuje vzhľad oneskorovača s rozbuškou a počinovou náplňou, v "bojovej časti" vidno pod kartónom priamo náplň trhaviny
4:50 - ukazuje rozdrvenú náplň trhaviny a vnútorné drážkovanie plášťa bojovej časti, ktoré riadi rozklad na črepiny
5:15 - rozoberá "výmetnú náplň" a vysýpa z nej čierny prach - v 5:28 ho zapáli
COVID-19 nie je choroba, COVID-19 je globálny test inteligencie jedincov, spoločenstiev, národov a štátov.
Dinosauri sa venovali výhradne problémom vlastného rastu.

Alchymista
Redakční rada
Příspěvky: 54404
Registrován: 01 úno 2017, 08:58

Re: Letecké bomby

Příspěvek od Alchymista » 07 úno 2017, 17:48

skflanker_ píše:Narazil som na blog z roku 2014 z výstavy ohľadom čínskych bômb - riadených / neriadených:
http://trishul-trident.blogspot.ru/2014 ... po-at.html
napríklad čo sa teraz používa v Iraku / Sýrii:
Obrázek
Obrázek
COVID-19 nie je choroba, COVID-19 je globálny test inteligencie jedincov, spoločenstiev, národov a štátov.
Dinosauri sa venovali výhradne problémom vlastného rastu.

Alchymista
Redakční rada
Příspěvky: 54404
Registrován: 01 úno 2017, 08:58

Re: Letecké bomby

Příspěvek od Alchymista » 26 bře 2017, 21:54

Polite píše:
26 bře 2017, 19:41
Niekde v Syrii ...Betab 500??
BETAB nie - ten by šiel dolu hnaný raketovým motorom. Toto je niektorá zo série FAB-500Š / FAB-500ŠN.
Ale "aerosolová" ODAB-500 skôr nie
COVID-19 nie je choroba, COVID-19 je globálny test inteligencie jedincov, spoločenstiev, národov a štátov.
Dinosauri sa venovali výhradne problémom vlastného rastu.

Alchymista
Redakční rada
Příspěvky: 54404
Registrován: 01 úno 2017, 08:58

Re: Letecké bomby

Příspěvek od Alchymista » 09 črc 2017, 16:27

"odhodiť bombu" vyzerá ako jednoduchá záležitosť - ale jednoduché to vôbec nie je

Nevydarené a menej vydarené odhody bômb a prídavných nádrží
COVID-19 nie je choroba, COVID-19 je globálny test inteligencie jedincov, spoločenstiev, národov a štátov.
Dinosauri sa venovali výhradne problémom vlastného rastu.

Uživatelský avatar
Grif
Sponzor fóra
Příspěvky: 5102
Registrován: 07 úno 2017, 13:04

Re: Letecké bomby

Příspěvek od Grif » 10 črc 2017, 15:48

Tak to je mazec,vůbec by mě nenapadlo,že se něco takového může stát. To co letělo na konci videa,byl urvanej kanón?
Všechno se dá vysvětlit.Bohužel ne všem.

Alchymista
Redakční rada
Příspěvky: 54404
Registrován: 01 úno 2017, 08:58

Re: Letecké bomby

Příspěvek od Alchymista » 10 črc 2017, 16:14

F-15 a mnohozamkový nosník MER (BRU-41?).
Evidentne sa mu tam nejak zachytila jedna bomba Mk-82 Snakeye (na jeden MER sa ich vešia až šesť), zamok sa ale otvoril/odomkol (bomba nie je súosá s nosníkom), tak to zahodil celé.

Havaria A-4 Skyhawk pri testoch F-18 - odhody bômb (tuším z roku 1984). Odhadzovany je nosník/závesník TER pre tri bomby, podvesený jednou bombou. V dôsledku pôsobenia aerodynamických síl potom urobí čo urobí...

Všetci zúčastnený prežili.
COVID-19 nie je choroba, COVID-19 je globálny test inteligencie jedincov, spoločenstiev, národov a štátov.
Dinosauri sa venovali výhradne problémom vlastného rastu.

Uživatelský avatar
skflanker_
Sponzor fóra
Příspěvky: 11304
Registrován: 07 úno 2017, 20:22

Re: Letecké bomby

Příspěvek od skflanker_ » 06 srp 2017, 14:01

Agitačná / letáková / propagandistická bomba PDU-5B
B52_PDU5B.jpg
Lietadlo B-52 a letákové bomby PDU-5/B
B52_PDU5B_let.jpg
Lietadlo B-52 po uvoľnení letákových bômb PDU-5/B, sleduje to F-16
Zdroj http://www.af.mil/News/Article-Display/ ... omb-drops/ z 26.07.2017
Zdroj http://www.airforce-technology.com/news ... am-5886352 z 31.07.2017
Do jednej kazety PDU-5B dokážu vložiť 60.000 letákov.

Uživatelský avatar
skflanker_
Sponzor fóra
Příspěvky: 11304
Registrován: 07 úno 2017, 20:22

Re: Letecké bomby

Příspěvek od skflanker_ » 15 říj 2017, 17:53

Grafitové bomby / submunícia
Grafitová bomba / submunícia sa používa pre vyradenie elektrických vedení / rozvodní z prevádzky. Obsahuje zvitky uhlíkových vlákien ktoré sú elektricky vodivé a tým na elektrickom vedení spôsobia skrat, na ktorý reaguje každá ochrana vedenia a vedenie / rozvodňa sa vypne. Pokiaľ sa z vedenie neodstránia všetky tieto vlákna, nie je možné zapnúť. Neúčinkuje to na izolovaných vedeniach - tie sa ale používajú veľmi výnimočne.
Submunícia:
BLU114B.jpeg
Submunícia BLU-114/B
Video z bývalej Juhoslácvie kde sa to bežne používalo:

https://youtu.be/QY904Uj859g zverejnené 11.04.2009, dĺžka videa 0:30 min.
Popis z videa:
A graphite bomb (also known as the "Blackout Bomb" or the "Soft Bomb") is a non-lethal weapon used to disable electrical power systems. Graphite bombs work by spreading a cloud of extremely fine, chemically-treated carbon filaments over electrical components, causing a short-circuit and a disruption of the electrical supply. The filaments are only a few hundredths of an inch thick and can float in the air like a dense cloud. The weapon is sometimes referred to as a "soft bomb" since its effects are largely confined to the targeted electrical power facility, with minimal risk of collateral damage. The graphite bomb was first used against Iraq in the Gulf War (1990 - 1991), knocking out 85% of the electrical supply. Similarly, the "BLU-114/B" graphite bomb was used by NATO against Serbia in May of 1999, disabling 70% of that country's power grid. After initial success in disabling Serbian electric power systems, the electric supply was restored in less than 24 hours. The BLU-114/B was again used a few days later to counter Serbian efforts to restore damage caused by the initial attack. In the later stage of Operation ALLIED FORCE, NATO airforce used conventional bombs and rockets to target power highlines and transformer stations. Graphite bombs only work on power lines that are not insulated. Most recently, it was used in the Iraq war to cut radio contact on an Al Queda outpost outside of Bagdad on December 15, 2007.
Grafitová bomba (tiež známa ako "Blackout Bomba") je ničivá zbraň používaná na vypnutie elektrických systémov. Grafitové bomby pracujú šírením oblaku extrémne jemných, chemicky upravených uhlíkových vlákien nad elektrickými komponentmi, čo spôsobuje skrat a poruchu elektrického napájania. Vlákna majú hrúbku iba niekoľko stotín palca a môžu sa vznášať vo vzduchu ako hustý oblak. Zbraň sa niekedy označuje ako "mäkká bomba", pretože jej účinky sú do značnej miery obmedzené na cielené elektrické zariadenie s minimálnym rizikom vedľajších škôd. Grafitová bomba bola prvýkrát použitá proti Iraku vo vojne v Perzskom zálive (1990-1991), čo vyradilo 85% elektrickej energie. Podobne bola v máji roku 1999 NATO proti Srbsku použitá grafitová bomba "BLU-114 / B", čím zablokovala 70% elektrickej siete tejto krajiny. Po počiatočnom úspechu pri zakazovaní srbských elektrární bol elektrický zdroj obnovený za menej ako 24 hodín. Modul BLU-114 / B bol opäť použitý o niekoľko dní neskôr, aby vybojoval srbské snahy o obnovenie škôd spôsobených počiatočným útokom. V neskoršom štádiu operácie ALLIED FORCE používali letectvo NATO konvenčné bomby a rakety na zacielenie vysokorýchlostných a trafostanicových staníc. Grafitové bomby pracujú iba na elektrických vedeniach, ktoré nie sú izolované. V poslednej dobe to bolo použité v irackej vojne na zníženie rádiového kontaktu na základni Al Queda mimo Bagdadu 15. decembra 2007.

Uživatelský avatar
skflanker_
Sponzor fóra
Příspěvky: 11304
Registrován: 07 úno 2017, 20:22

Re: Letecké bomby

Příspěvek od skflanker_ » 12 lis 2017, 18:49

Alchymista píše:
09 črc 2017, 16:27
"odhodiť bombu" vyzerá ako jednoduchá záležitosť - ale jednoduché to vôbec nie je
Nevydarené a menej vydarené odhody bômb a prídavných nádrží
Su-25 a prídavné palivové nádrže - 3ks sa oddelili správne, jednej sa "zasekol" jeden zámok
Video GIF:
Su25.gif
Su-25
Su25.gif (3.75 MiB) Zobrazeno 32608 x

Uživatelský avatar
El Diablo
Redaktor - závislák :-)
Příspěvky: 6053
Registrován: 07 úno 2017, 18:56

Re: Letecké bomby

Příspěvek od El Diablo » 13 lis 2017, 00:31

Butterfly Bomb: 4 Pound Fragmentation Bomb M83 1945 US Navy; WWII Cluster Bomb
Co cítíte, když střílíte teroristy?
Zpětný ráz.
http://www.eldiablo.webz.cz/
Takže se sejdeme v Šestce na Šedesát šestce zejtra ráno v šest. Zapamatuješ si to?
Můžeš mi to ještě šestkrát zvopakovat?
I šestiletý dítě by si to pamatovalo.

Alchymista
Redakční rada
Příspěvky: 54404
Registrován: 01 úno 2017, 08:58

Re: Letecké bomby

Příspěvek od Alchymista » 26 lis 2017, 23:25

Sovietske a ruské letecké bomby ťažších kalibrov
FAB-1500-2600TS K-8.jpg
FAB-1500-2600TS
.
.
FAB-1500ŠA (2).jpg
FAB-1500ŠA
FAB-1500Š (1).jpg
FAB-1500Š/ŠA
COVID-19 nie je choroba, COVID-19 je globálny test inteligencie jedincov, spoločenstiev, národov a štátov.
Dinosauri sa venovali výhradne problémom vlastného rastu.

Uživatelský avatar
skflanker_
Sponzor fóra
Příspěvky: 11304
Registrován: 07 úno 2017, 20:22

Re: Letecké bomby

Příspěvek od skflanker_ » 21 pro 2017, 19:52

Nová automatizovaná výrobná linka pre bomby rodiny FAB-500

https://youtu.be/oLDz8VptlT4 zverejnené 08.12.2017, dĺžka videa 2:16 min.
https://youtu.be/e7VczpVxYfU zverejnené 08.12.2017, dĺžka videa 2:13 min.

Uživatelský avatar
skflanker_
Sponzor fóra
Příspěvky: 11304
Registrován: 07 úno 2017, 20:22

Re: Letecké bomby

Příspěvek od skflanker_ » 02 led 2018, 20:02

ODAB-500 - zostrih videí za rok 2017 vraj zo Sýrskeho mesta Latamna

https://youtu.be/ypke4J6TvEw zverejnené 31.12.2017, dĺžka videa 3:33 min.
Zdroj https://twitter.com/MahmodHamway/status ... 3119239168 z 31.12.2017 s príslušným komentárom autora

Uživatelský avatar
WuVirr
Šéfredaktor
Příspěvky: 5685
Registrován: 01 úno 2017, 15:31

Re: Letecké bomby

Příspěvek od WuVirr » 08 led 2018, 15:42

Ruští vojáci dostanou samonaváděcí Drel

Ruští vojáci získají v roce 2018 do výzbroje nejmodernější klouzavou leteckou pumu Drel (vrtačka) ráže 500 kg, informují ruská média.
„Je to nový základní vzorek klouzavé bombové kazety ráže 500 kg se samonaváděcími bojovými prvky," řekl Vladimir Lepin, generální ředitel koncernu Techmaš, který vyvinul tuto zbraň.
Více zde: https://cz.sputniknews.com/svet/2018010 ... stat-drel/

Uživatelský avatar
skflanker_
Sponzor fóra
Příspěvky: 11304
Registrován: 07 úno 2017, 20:22

Re: Letecké bomby

Příspěvek od skflanker_ » 08 led 2018, 19:27

▲ ide o bombu PBK-500U SPBE-K "Dreľ" (ПБК-500У СПБЭ-К "Дрель") (Dreľ / Дрель = vrtačka)
PBK500U_SPBE.jpg
PBK-500U SPBE-K (ПБК-500У СПБЭ-К)
PBK500U_SPBE_sub.jpg
PBK-500U SPBE-K (ПБК-500У СПБЭ-К) a submunícia
PBK (ПБК) = "Kĺzavá" kazetová bomba (Планирующая бомбовая кассета) (zatiaľ takú kategóriu nemajú ani na wiki)
RBK (РБК) = Jednorázová kazetová bomba (Разовая бомбовая кассета)

PBK vychádza z RBK s tým že má kĺzavý let navádzaný pomocou Inerciálneho navigačného systému + doplnený o GLONASS
dĺžka = 3100 mm = 3,1 m
priemer = 450 mm = 45 cm
výška odhodu od 100 m do 14000m = 14 km
rýchlosť odhodu od 700 km/h do 1100 km/h
dosah maximálne 50 km (závislé od rýchlosti a výšky odhodu)
kapacita kazety = 15 ks aktívnej submunície SPBE-K (СПБЭ-К)

Viac info:
https://defendingrussia.ru/enc/bombovyj ... 500u-1225/ z 19.12.2014
http://tass.ru/armiya-i-opk/3600536 z 07.09.2016
https://svbr.livejournal.com/75258.html z 08.06.2016

kenavf
Sponzor fóra
Příspěvky: 12543
Registrován: 07 úno 2017, 19:59

Re: Letecké bomby

Příspěvek od kenavf » 08 led 2018, 19:32

Akosi sa mi nezdá ten dosah "maximálne 50km"
Krýdla to nemá,čo by jej malo umožnť tak ďaleké doplachtenie? :?:
"Mravní bída je příčina, hospodářský úpadek je následek".-T.Baťa.
"Jediné čo potrebujú nečisté síly k svojmu víťazstvu je to, aby slušní ľudia neurobili nič." -Edmund Burke.

Uživatelský avatar
skflanker_
Sponzor fóra
Příspěvky: 11304
Registrován: 07 úno 2017, 20:22

Re: Letecké bomby

Příspěvek od skflanker_ » 08 led 2018, 20:08

Tu ide o kĺzavosť - čo žiaden zdroj neuviedol .. a kĺzavosť sa udáva pri rýchlosti, napríklad
L-13 Blaník Maximálna kĺzavosť 28:1 pri 90 – 100 km/h
VSO-10 Gradient Klouzavost: 36:1 při rychlosti 90 km/h
Ak budem čerpať z wiki tak pri výške 14km (14000m) bez udania rýchlosti za "ideálnych" podmienok:
L-13 Blaník (28) doletí 392 km
VSO-10 (36) doletí 504 km
Cessna 150 (7) doletí 98 km
Dopravák (17) doletí 238 km
Moderný vetroň (60) doletí 840 km
Rogalo (12) doletí 168 km
Padákové krídlo (7) doletí 98 km

Pre bombu PBK-500 ak je výška 14 km a dolet max 50 km tak kĺzavosť by mala mať okolo 3,5714

a potom tu je vztlak ktoré teleso vo vzduchu vytvorí - tiež nevieme, a potom hodnotu k = balistický koeficient bomby (prvý príspevok od Alchy)

Zatiaľ som čerpal iba z uvedených zdrojov - ak to budú skúšať v Sýrii, uvidíme

Alchymista
Redakční rada
Příspěvky: 54404
Registrován: 01 úno 2017, 08:58

Re: Letecké bomby

Příspěvek od Alchymista » 08 led 2018, 21:32

kenavf píše:
08 led 2018, 19:32
Akosi sa mi nezdá ten dosah "maximálne 50km"
Krýdla to nemá,čo by jej malo umožnť tak ďaleké doplachtenie? :?:
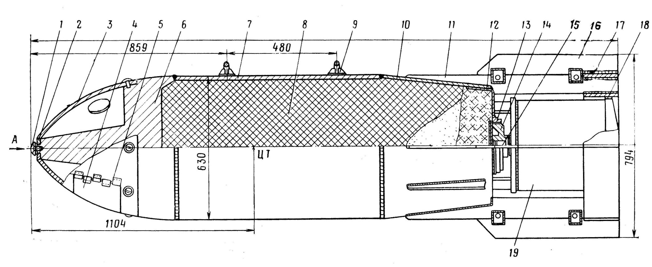
Krídla to samozrejme má - to máš len špatnú predstavu o tom, "čo je to krídlo" a "čo znamená dolet". Pozri sa napríklad na bomby JDAM - dolet až 28 km.
Obrázek
Obrázek

Druhá vec - zober si KAB-500Kr. Má uvádzaný dosah 15-17km z výšky 500-5000m pri rýchlosti 500-1150km/h. Čo to znamená? NIČ - dosah je limitovaný dohľadnosťou, ďalej ako na tých 15-17km kamera v hlavičke samonavedenia proste "nedovidí". A zároveň to znamená, že čisto aero-balisticky musí mať bomba KAB-500 dolet väčší ako tých 15-17km, pretože musí mať zásobu rýchlosti, zásobu kinetickej energie na korekcie dráhy (každý manéver, každý pohyb kormidiel stojí kinetickú energiu) - u KAB-500 to bude odhadom 20-25% dosahu, teda teoretický dosah by bol na úrovni aspoň 20-22km z výšky 5000m pri rýchlosti 320m/s (tj 1150km/h).

Tretia vec - napríklad Mig-25BR dokázal "hlúpu" FAB-500T zahodiť na diaľku ~80km z výšky 18000m a rýchlosti ~690m/s a na diaľku >>100km z výšky >21000m pri ~780m/s. CEP podľa použitého systému navedenia dosahoval 5-10 tisícin diaľky (tj. 400-800m) pri použití "systému navedenia stíhacieho letectva na pozemné ciele" a automatiky odhodenia a >20 tisícin (~2km) pri použití palubného zameriavacieho a navigačného systému a "ručného odhodenia"
COVID-19 nie je choroba, COVID-19 je globálny test inteligencie jedincov, spoločenstiev, národov a štátov.
Dinosauri sa venovali výhradne problémom vlastného rastu.

Odpovědět